O hub de carregamento removível da Ford pode ser a ideia mais prática até agora


Uma tecnologia automotiva simples, mas útil

A tecnologia veicular não se trata apenas de como um carro dirige ou de sua eficiência. As montadoras gastam o mesmo tempo em recursos que facilitam o dia a dia. Infotainment, armazenamento mais inteligente e melhores soluções de carregamento tornaram-se essenciais, especialmente agora que os telefones e tablets estão sempre presentes.

FordA última patente da é um bom exemplo. Arquivado em agosto de 2024 (procure usando a patente nº. 20260058424), descreve um hub de carregamento removível que cabe atrás do console central. Não há nada chamativo ou superdimensionado aqui, e é isso que faz valer a pena dar uma olhada mais de perto.

USPTO

Um design prático de porta de carregamento de smartphone

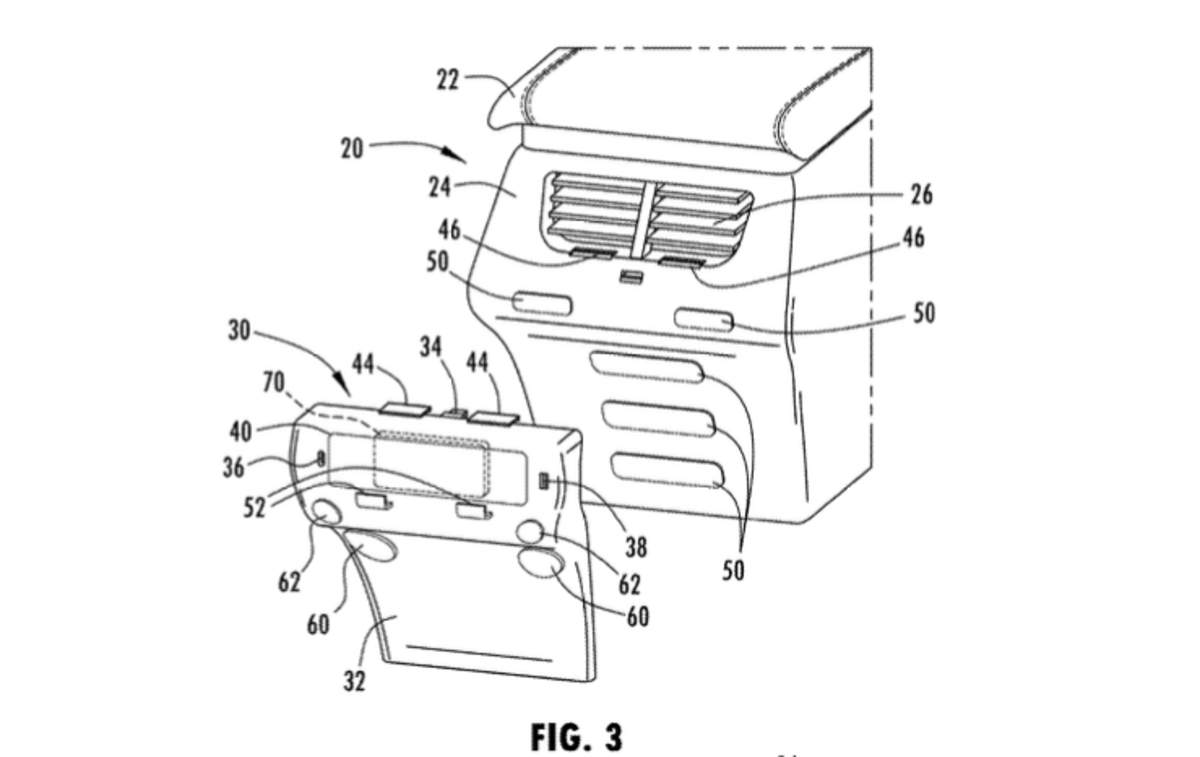
A patente centra-se numa unidade de carregamento modular que se encaixa na parte traseira da consola central para os passageiros traseiros. Em vez de conectar as portas diretamente no console, a Ford usa uma caixa removível que é travada com hardware simples. Se necessário, você pode desconectar, substituir ou atualizar toda a unidade sem cavar no interior.

O módulo pode conter portas USB-A e USB-C, além de uma base de carregamento sem fio próxima a um suporte de dispositivo integrado. A iluminação LED ajuda na visibilidade e há uma opção de bateria interna para que você possa carregar dispositivos mesmo quando o carro estiver desligado – como uma espécie de banco de energia perfeito para excursões fora da rede.

A Ford acrescenta um toque prático com uma pequena rede de armazenamento sob o centro de carregamento, proporcionando aos passageiros traseiros um local para cabos ou pequenos itens. É uma adição simples, mas mostra que o módulo foi projetado para ser genuinamente útil, não apenas mais um gadget que os proprietários esquecerão no longo prazo.

USPTO

Por que essa ideia faz sentido

A principal vantagem está na forma como a tecnologia é empacotada. Um hub de carregamento removível permite que a Ford ofereça configurações diferentes para cada nível de acabamento ou permita que os revendedores adicionem atualizações posteriormente. Se uma das portas falhar, toda a unidade poderá ser trocada sem desmontar o interior. Esta abordagem também beneficia modificações pós-venda.

Essa abordagem também corresponde à forma como os carros são vendidos e atualizados agora. Os compradores desejam flexibilidade, especialmente para recursos que são atualizados ano após ano. Lembra quando os iPhones tinham sua própria porta de carregamento? É a prova de que os padrões de cobrança mudam. Os dispositivos também ficam maiores, então o que funciona hoje pode parecer antigo em alguns anos.

É importante notar que as patentes não garantem que um recurso chegará à produção, ou mesmo passará da prancheta. As montadoras registram patentes o tempo todo apenas para proteger ideias. Ainda assim, acreditamos que este parece sensato o suficiente para que possa ou deve aparecer em um futuro interior da Ford.

USPTO

Veja as 3 imagens desta galeria no
artigo original



Source link